Rubometric Typ D Selbstöffnende Gewindeschneidköpfe
Selbstöffnende Gewindeschneidköpfe RUBOMETRIC Typ D
Selbstöffnende Gewindeschneidköpfe RUBOMETRIC Typ D dienen zur wirtschaftlichen Herstellung von Außengewinden aller vorkommenden Gewindearten in beliebiger Länge, sowohl von Rechts- als auch von Linksgewinden; letztere bedingen die Verwendung von Gewindeschneidbacken mit Linksgewinde.
Die Gewindeschneidköpfe werden auf Drehmaschinen, Revolverdrehbänken, Ein- und Mehrspindeldrehautomaten, Gewindeschneidmaschinen, Bohrmaschinen oder anderen, zum Gewindeschneiden geeigneten Maschinen verwendet.
RUBOMETRIC-Gewindeschneidköpfe Typ D werden nach dem System GEOMETRIC hergestellt und daher passen außer den RUBOMETRIC-Gewindeschneidbacken auch Gewindeschneidbacken anderer Fabrikate, wie z. B. EFEM Type G, GEOMETRIC Typ D oder andere Fabrikate gleicher Typen, in die RUBOMETRIC-Gewindeschneidköpfe.

Vorteile der Gewindeschneidköpfe
-
Kürzere Arbeitszeit.
Der Rücklauf in den geschnittenen Gewindegängen fällt weg, da sich der Gewindeschneidkopf nach beendetem Schneidvorgang öffnet und die Schneidbacken selbsttätig aus den geschnittenen Gewindegängen zurückgezogen werden. - Kein Drehrichtungswechsel der Maschinenspindel nach fertig geschnittenem Gewinde erforderlich.
- Verwendung des Gewindeschneidkopfes je nach Bauart der Maschine feststehend (Gewindeschneidkopf wird z. B. im Reitstock der Maschine aufgenommen und das mit Gewinde zu versehende Werkstück dreht sich).
oder
-
Umlaufend
(Gewindeschneidkopf dreht sich und das Werkstück steht still). - Einfache und genaue Einstellung des Gewindeschneidkopfes zum Schneiden von Gewinden in Feintoleranz.
- Durch Einstellen des Gewindeschneidkopfes können mit gleichen Gewindeschneidbacken Gewinde mit Unter- oder Übermaß geschnitten werden.
Durch schnelles und leichtes Auswechseln der Schneidbacken eignet sich diese Type besonders für kleine Serien und auch zum Schneiden von Gewinden gegen einen Ansatz; ausgerüstet zum Vor- und Fertigschneiden.
Die genauen Werte und Tabellen entnehmen Sie unserem Datenblatt als PDF-Datei.
Artikel-Nr. | Benennung | Schneidbereich |
---|---|---|
500208 | RUBOMETRIC Schneidkopf DS 5/16" Schaft Ø 16 mm | M2 - M8 |
500414 | RUBOMETRIC Schneidkopf D 9/16" Schaft Ø 26 mm | M4 - M14 |
500620 | RUBOMETRIC Schneidkopf D 3/4" Schaft Ø 40 mm | M6 - M20 |
500824 | RUBOMETRIC Schneidkopf D 1" Schaft Ø 40 mm | M8 - M24 |
- Weitere Schneidbereiche für Gewindeschneidbacken in Whitworth, Rohr und UNC etc. fragen Sie bitte an.
Einsatzbeispiele
Erste Möglichkeit
Aufnahme in der Pinole (Spindel entfernen und Schneidkopf mit MK-Schaft verwenden) oder in einer glatten Welle (mit Nut gegen Verdrehen sichern), die nach Entfernen der Pinole durch den Reitstock geschoben wird. Das Andrücken des Gewindeschneidkopfes an das Werkstück erfolgt mit einem Handrad oder mit einer entsprechenden Hebelvorrichtung. Je nach Maschinenausführung ist zu prüfen, ob der Reitstock - vor den Support gesetzt - zweckmäßigerweise mit der Leitspindel des Supports geführt werden kann.
Zweite Möglichkeit
Aufnahme in einem handelsüblichen Schnellwechselhalter. Bei der Verwendung der Leitspindel ergeben sich besonders steigungsgenaue Gewinde. Bei größeren, schwereren Drehmaschinen ist der Einsatz der Leitspindel zu empfehlen und erforderlich.

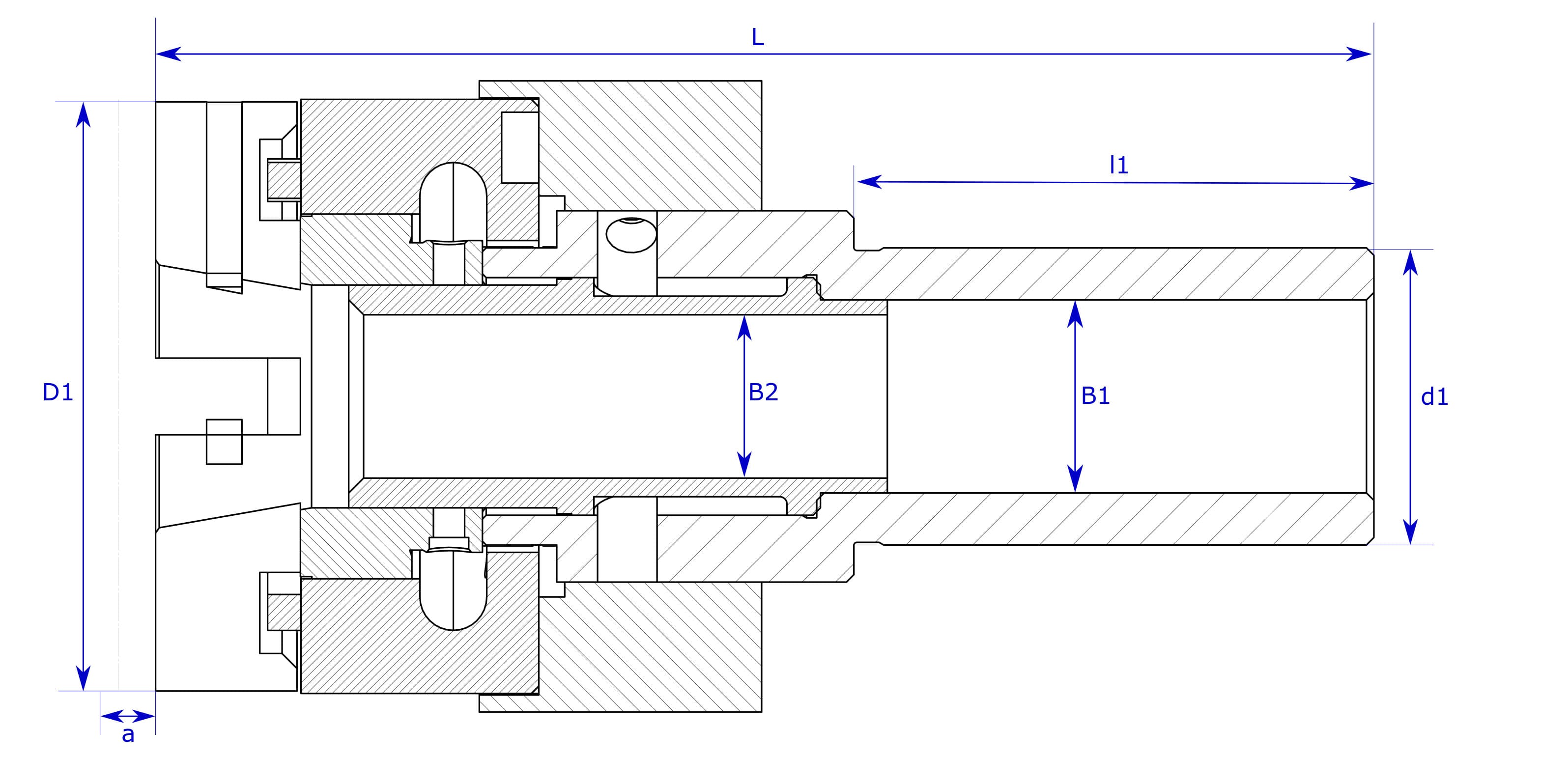
Gewindeschneidkopf mit zylindrischem Schaft

Größe | Schneidbereich | a Auslöseweg (mm) | B1 Großer Bohr-Ø (mm) | B2 Kleiner Bohr-Ø (mm) | D1 Kopf-Ø (mm) | d1 Schaft-Ø (mm) | l1 Schaftlänge (mm) | L Gesamtlänge (mm) | Gewicht (kg) Schneidkopf ca. | ||
---|---|---|---|---|---|---|---|---|---|---|---|
Metr. | Whtw. | Rohr | |||||||||
DS 5/16“ | M2 - M8 | 3/32“ - 5/16“ | - | 3 | 11 | 9 | 40 | 16 | 40 | 97 | 0,6 |
D 9/16“ | M4 - M14 | 5/32“ - 9/16“ | 1/8“ - 1/4“ | 4 | 17 | 15 | 62 | 26 | 52 | 126 | 1,4 |
D 3/4“ | M6 - M20 | 1/4“ - 3/4“ | 1/8“ - 1/2“ | 4,5 | 26 | 22 | 80 | 40 | 70 | 164 | 3,2 |
D1“ | M8 - M24 | 5/16“ - 1“ | 1/8“ - 3/4“ | 4,5 | 28,5 | 27 | 92 | 40 | 70 | 176 | 4,2 |
Gewindeschneidkopf mit MK-Schaft

Größe | Schneidbereich | a Auslöseweg (mm) | B2 Kleiner Bohr-Ø (mm) | C Schneidbare Gewindelänge (mm) | D1 Kopf-Ø (mm) | MK Morsekegel (mm) | L Gesamtlänge (mm) | Gewicht (kg) Schneidkopf ca. | ||
---|---|---|---|---|---|---|---|---|---|---|
Metr. | Whtw. | Rohr | ||||||||
DS 5/16“ | M2 - M8 | 3/32“ - 5/16“ | - | 3 | 9 | 70 | 40 | MK 2 | 97 | 0,6 |
D 9/16“ | M4 - M14 | 5/32“ - 9/16“ | 1/8“ - 1/4“ | 4 | 15 | 100 | 62 | MK 3 | 126 | 1,4 |
D 3/4“ | M6 - M20 | 1/4“ - 3/4“ | 1/8“ - 1/2“ | 4,5 | 22 | 130 | 80 | MK 3 | 164 | 3,2 |
D1“ | M8 - M24 | 5/16“ - 1“ | 1/8“ - 3/4“ | 4,5 | 27 | 140 | 92 | MK 3 | 176 | 4,2 |